CN | EN

总线短路隔离器

产品型号:JBF4171

返回产品
600x600产品_副本
产品介绍

功能特点

内置微处理器,采用SMT表面贴装工艺。

用于总线设备的短路保护,可采用环形或树状分支两种保护形式。

总线设备的线路恢复正常后,隔离器可实现自动恢复。

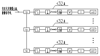
每只总线短路隔离器保护的设备总数不应超过32点 。

插拔式结构,易于施工、维护方便 。

两线制,信号线无极性。功耗低,通讯距离1500m 。

技术参数列表


使用环境

工作温度

-10~+55

贮存温度

-20~+65

相对湿度

95%(无凝露)

电气特性

工作电压

DC18V-28V,调制型,控制器提供

报警电流

200mADC24V

红色

通讯特性

线   

两线制,信号线无极性

通讯距离

1500m

兼容性

兼 容 性

可用于JBF-11SF系列及JBF50系列控制器

机械特性

外壳材质

ABS

   

PANTONE Warm Gray 1 C 米白色

产品重量

120g

防护等级

IP20

外形尺寸

85mm长×85mm宽×41mm厚(含底座)

执行标准

执行标准

GB4717-2005《火灾报警控制器》

结构特征、安装与布线

采用明装方式,通过预埋盒或使用膨胀螺丝将底座固定在墙上,安装孔距为60mm。

端子2或3、端子4或5分别接信号线L1和L2,无极性。信号线采用ZR-RVS-2×1.5mm²双绞线。

模块主体应在布线检查后、调试之前安装,防止因不恰当安装作业造成损失。

外形结构图


安装尺寸图


端子示意图


说明

端子2或3、4或5为信号输入端,端子7或8、9或10为信号输出端。

接线示意图


a.环形总线保护接线示意图:


b.树状分支总线保护接线示意图:


市场部公众号

市场部公众号

官方公众号

官方公众号