CN | EN

家用火灾报警控制器

产品型号:JB-QB-JBF5021DC

返回产品
600x600产品_副本
产品介绍

功能特点

按国家标准GB22370-2008《家用火灾安全系统》设计的一款家用火灾报警控制器,满足民用建筑消防工程的需求。

尺寸小巧,功能强大,性能稳定,界面UI设计简洁易懂,适于安装在家庭室内。

DC24V供电,使用简单方便。

采用2.8寸彩色液晶屏,扁平化图形显示,中文菜单,简约易懂。

通过面板按键操作,实现信息查询和信息配置。

具备火警电话自动拨号功能,火警发生时,控制器可对预设的紧急联系人电话号码进行自动轮拨,及时通知火情,降低损失。此功能需插入SIM 卡使用(支持移动、联通网络)。

通过CAN总线与控制中心监控设备进行组网,最大网络节点99台控制器,实现集中管理功能。

具有GPRS和蓝牙功能,支持手机APP收取控制器信息。

回路采用二线制输出,接线简单,易操作,支持最多50点现场部件连接,如家用感烟与感温火灾探测器、手动报警开关、输入模块等设备。通讯距离1000m。

可通过无线传输方式接收无线现场部件的状态信息,支持最多50点无线现场部件连接,如无线感烟与无线可燃气体探测器、无线手动报警开关、无线输入模块等设备。通讯距离视距270m。

支持APP调试软件,方便现场调试。

技术参数列表


使用环境

工作温度

-10~+55

贮存温度

-20~+65

相对湿度

95%(无凝露)

电气特性

供电主电

DC24V

   

3.7V/4400mAh

   

监视状态功耗小于3W,最大功耗小于15W

火警继电器

2组常开输出,触点容量2A/30VDC0.5A/125VAC

1组无源输入,需配接10KΩ终端电阻

系统容量

BYF-PC10X电源:单台最多可连接15台家用火灾报警控制器

单台家用火灾报警控制器: 1条总线回路,单回路50点;1条无线回路,单回路50点;

通讯特性

通讯接口

1CAN通讯,1路回路组网

通讯距离

有线传输1000m,无线传输视距270m

机械特性

外壳材质

控制器:ABS

BYF-PC10X电源:镀锌板SGCC

   

控制器:PANTONE Warm Gray 1 C 米白色

BYF-PC10X电源:灰砂纹

产品重量

控制器:591g

BYF-PC10X电源:5.5kg

外形尺寸

控制器:200mm长×110mm宽×51.5mm厚(含底座)

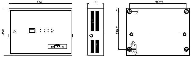
BYF-PC10X电源:450mm长×300mm宽×130mm

执行标准

执行标准

GB22370-2008《家用火灾安全系统》

结构特征、安装与布线

壁挂式安装。

外形结构及安装尺寸图


BYF-PC10X电源外形结构及安装尺寸图


端子示意图


说明

L、N:接24V直流电,无极性。

L1、L2:用于与火灾报警控制器回路总线进行连接。

L+、L-:本机回路总线,接外部现场部件。

CANH、CANL:CAN接口,连接时须所有设备的CANH接在一起,所有CANL接在一起,切勿接反!否则无法通讯。多台设备连接或长距离传输时,可选配终端电阻(120Ω)。

I1、I2:无源报警输入端口,用于接收外部无源开关量输入,有开关量短路输入时,控制器处于火警状态,切勿连接有源信号,否则会损坏接口。注意:必须安装终端电阻(10KΩ)。

COM1/COM2、NO1/NO2:2路无源火警输出,控制器处于火警状态时,火警继电器闭合。

注意事项

建筑物内有墙体等阻挡时,通讯距离将会有不同程度的衰减,需以现场实测为准。

电源开关:控制器具有一个电源开关,此开关仅在调试或系统不能正常运行期间,供专业技术人员通过此开关进行系统维护使用,非专业人员禁止操作。

控制器默认红色报警按钮地址为51号,默认无源报警输入地址为52号。

定期请厂家有关专业人员进行检修,周期不少于1年。

定期检查现场设备情况,周期不少于半年。

严禁非专业人士操作电源开关或拆装设备,如有异常,请联系厂家维修。

系统构成示意


市场部公众号

市场部公众号

官方公众号

官方公众号